GAVO Ventilatie & Concepts
13B Ventilatierooster, voor buis, kunststof
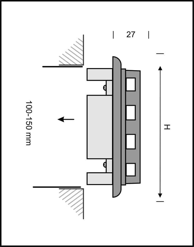
Ventilatierooster vervaardigd van kunststof, geschikt voor montage in buis. Afsluitbaar, voor toe- en afvoer van lucht. Instelbaar, geschikt voor buis 100 t/m 150 mm.
Eigen productie
Uitgebreid assortiment
