GAVO Ventilatie & Concepts
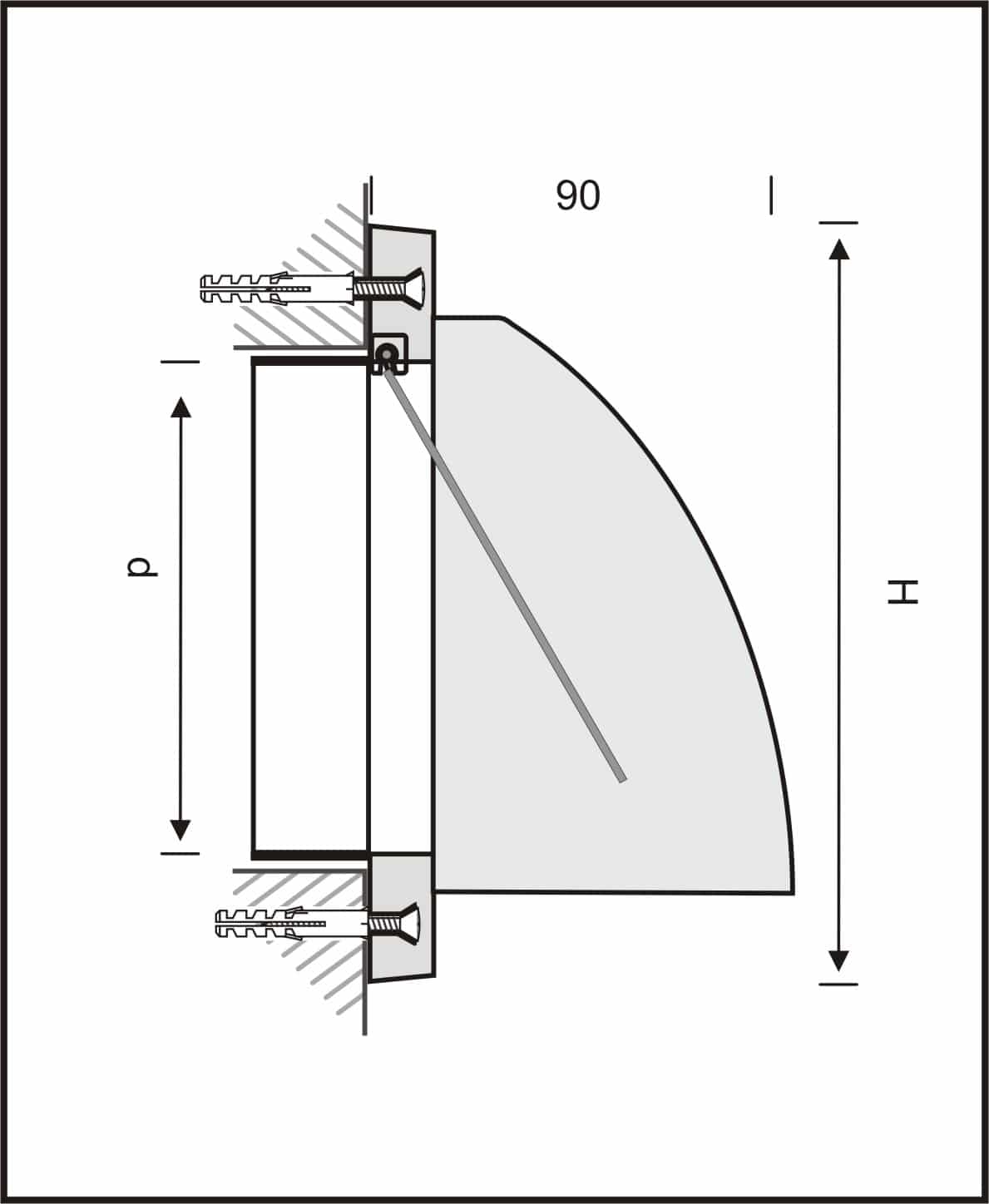
12K Gevelkap kunststof
Kunststof gevelkap met klep welke zich opent bij overdruk.
Als buitenrooster, voor afvoer van lucht (afzuiginstallaties).
Kan ook zonder klep (verwijderbaar) toegepast worden, rooster is dan geschikt voor zowel toevoer als afvoer.
Eigen productie
Uitgebreid assortiment
