GAVO Ventilatie & Concepts
13-42 Ventielrooster rond kunststof
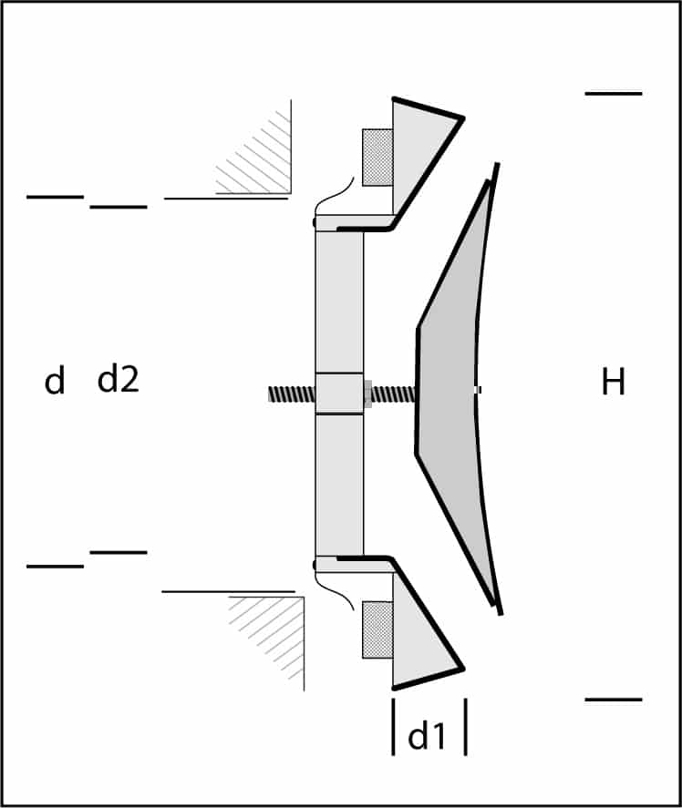
Instelbaar toevoerventiel van kunststof. De aerodynamisch gevormde conus kan in of uitgedraaid worden om de juiste drukval en volumestroom in te stellen. De conus wordt hierna vastgezet door middel van een moer. De vorm van de conus zorgt voor een effectieve menging van de toegevoerde lucht. Voorzien van stalen klemveren voor een eenvoudige en snelle montage.
Als binnenrooster, voor toevoer van lucht (mechanische ventilatiesystemen).
Eigen productie
Uitgebreid assortiment
