GAVO Ventilatie & Concepts

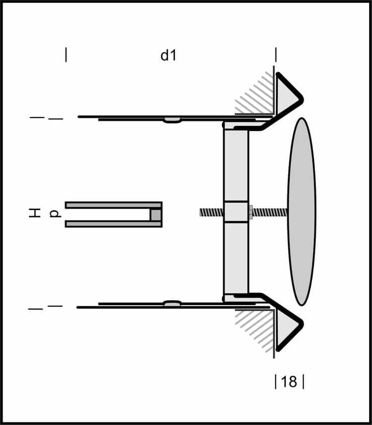
13VK Ventiel brandwerend 60min.

Automatisch sluitende ronde brandwerende vlinderklep inclusief toevoerventiel.
Deze brandwerende vlinderklep kan worden geplaatst in ventilatiekanalen bij wanddoorgangen om brandvoortplanting tegen te gaan. Geschikt voor inbouw in spirobuis, massieve wand, massieve vloer en flexibele wand.
Brandwerendheid van 60 minuten.
Inbouw, in kanaal, 0-360°.



Eigen productie



Uitgebreid assortiment

Uit voorraad leverbaar

ï•…

Maatwerk

Categorieën

Schoepenroosters

Schuifroosters

Lamellenroosters

Deurroosters

Ventilatiestrips

Ventilatieplaten

Overdrukroosters

Ventilatieroosters buis

Ventielroosters

Wand en tabletroosters

Vloeroosters

Brandwerende producten

Inspectieluiken

Gevelkappen

Kunststof kanalen en toebehoren

Slangen en toebehoren

Geluiddempende ventilatie

Vliegengaas

Filtermedia/cassettes