GAVO Ventilatie & Concepts

13C Bolrooster rond RVS 304

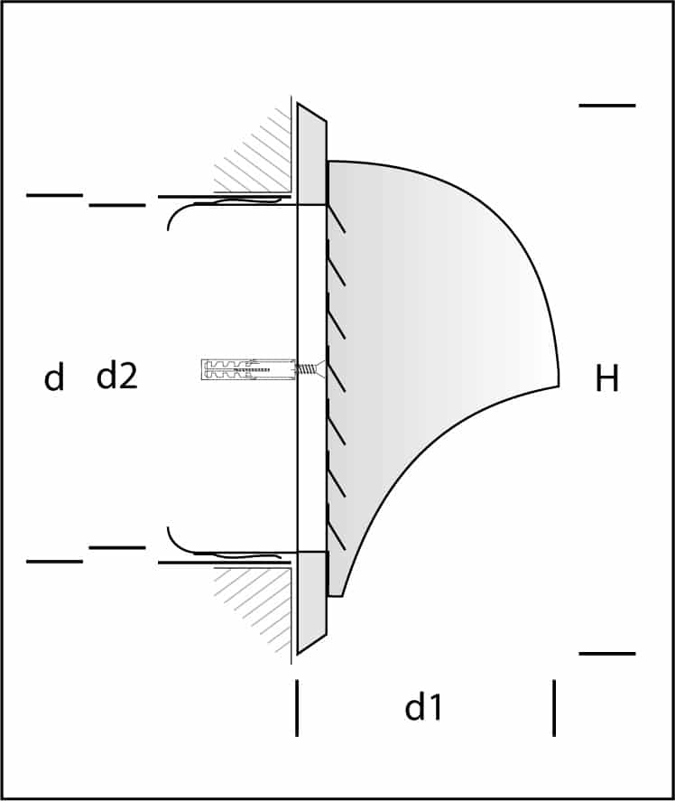
Niet afsluitbaar rond ventilatierooster, uitgevoerd in geborsteld RVS 304. Fraaie vormgeving passend bij vele architectuurstijlen. Rond model, voorzien van een buisaansluiting met stalen klemveren voor eenvoudige en snelle montage (bevestiging met schroeven is ook mogelijk). Binnenzijde voorzien van schoepenpatroon.
Voor toe- en afvoer van lucht. Als binnen/buitenrooster.
Incl. afdichtrand van rubber en schroeven.



Eigen productie



Uitgebreid assortiment

Uit voorraad leverbaar

ï•…

Maatwerk

Categorieën

Schoepenroosters

Schuifroosters

Lamellenroosters

Deurroosters

Ventilatiestrips

Ventilatieplaten

Overdrukroosters

Ventilatieroosters buis

Ventielroosters

Wand en tabletroosters

Vloeroosters

Brandwerende producten

Inspectieluiken

Gevelkappen

Kunststof kanalen en toebehoren

Slangen en toebehoren

Geluiddempende ventilatie

Vliegengaas

Filtermedia/cassettes